AccueilStockageAlfa Laval PX 65 Centrifuge for Fats and Oils Refining

Alfa Laval PX 65 Centrifuge for Fats and Oils Refining

The Alfa Laval PX 65 centrifuge is designed for the vegetable oil and animal fat refining industries, with applications including continuous degumming, neutralizing, dewaxing, and washing of fatty oils such as vegetable oils, lard, tallow, and fish oil.

The PX 65 features a semi-hermetic design with a hermetic, bottom-fed inlet that ensures gentle, non-destructive acceleration of the feedstock to full bowl speed. The inlet flow area is optimized to minimize pressure drop, and the open outlets for the heavy and light phases further reduce resistance, resulting in low feed-pressure requirements. The outlets are equipped with stationary paring devices: a fixed paring disc for the light phase and adjustable paring tubes for the heavy phase. The PX 65 is supplied complete with motor, OWM, foundation frame, and tools.

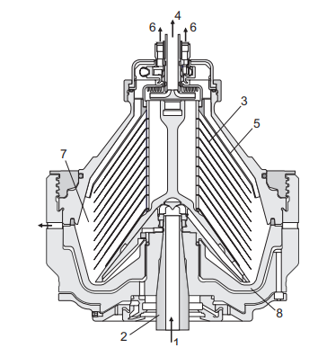
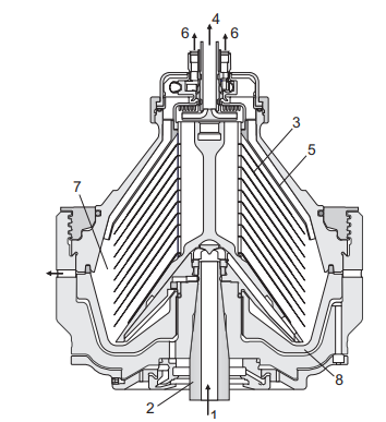
During operation, the feed enters the separator bowl from the bottom through a hollow spindle (1) and passes into the disc stack (2). The heavy phase and sludge are forced toward the bowl periphery, while the light phase flows toward the center (3) and is pumped out (4) for further processing. The heavy phase moves over a top disc (5) into a chamber and is discharged via an adjustable paring device (6). Sludge collects in the sludge space (7) and is discharged automatically at preset intervals by a hydraulic system, which lowers the sliding bowl bottom (8) to open the sludge ports. The discharged sludge is collected in the frame and exits the centrifuge via a cyclone.

Download pdf

Caractéristiques

Numéro d'offre
26-07-03
Fabricant
Alfa Laval
Type
PX 65
Capacité
15.000 L per hour
Année de construction
2012
Numéro de série
4214023 M
État
Good
Dimensions
170x130x175
Condition de livraison
FCA
Localisation
The Netherlands
Poids
+- 1750 kg

Demandez ce produit